Задайте вопрос экспертам. Страница номер 588
Вы можете задать Вопрос эксперту по тематике нашего портала, мы постараемся обязательно ответить Вам на страницах нашего сайта.
На вопросы отвечают:
![]() Автошкола "Автодебют" с 1997 года проводит обучение водителей категории "В".Наших учеников ждут оборудованные классы и квалифицированные преподаватели.
Адрес: Москва, Ул.Авиаконструктора Миля 3, район Выхино-Жулебино Сайт: www.avtodebut.net Телефон: 89261136292 89629379737 |
| Страницы: 1 ... 586 587 588 589 590 ... 908 | Задать свой вопрос | ||||||||||||||||||||
Здравствуйте! Можно ли сдавать экзамен на права, не пройдя обучение в автошколе??
и принимают ли его во всех пунктах сдачи?
Меня лишили прав на восемь с половиной лет при этом заплатил штрав 30тысяч сейчас я на второй группе инвалидности можно ли права забрать раньше.
Здравствуйте. Подскажите пожалуйста, в каком размере будет штраф за стоянку в неположенном месте?
Г. Новороссийск
Я в 1992 году прошел обучение и получил права на вождение трактора
Как в настоящее время поменять права старого образца на новые , и в каких органах производят замену
Задаю вопрос повторно. Николай, г. Верещагино 29 августа 2010, 10:44 | № 3170
Пожалуйста подскажите, возможна ли самоподготовка к экзамену для получения водительского удостоверения, (обязательна ли проходить учёбу в автошколе теория+практика)Если возможна пожалуйста дайте ссылку на нормативно правовые документы это подтверждающие.
Здравствуйте! Могу ли я пойти в автошколу в 16 лет? и что мне нужно при себе иметь?
Зарание спасибо.
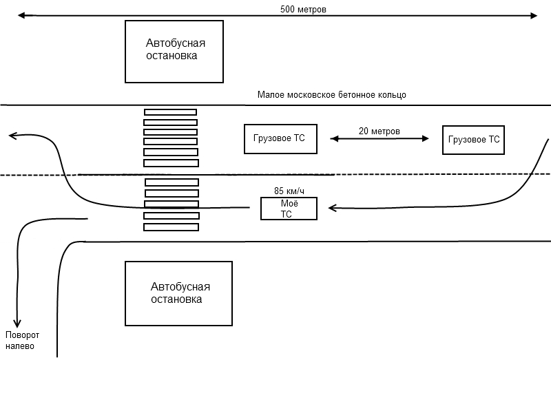
В субботу ехал по Малому московскому бетонному кольцу от Ленинградского шоссе до Дмитровского шоссе. Вот это место http://maps.yandex.ru/?um=KPmO8RvD4nMt1ITQojZi99p5NZKfVpw9&l=sat%2Cskl. Схему обгона указал на рисунке, далее тормозят меня ДПСники и говорят что я нарушил ПДД ст. 12.15 ч. 4 КоАП РФ, карается лишением прав на срок от 4 до 6 месяцев и предъявили видеозапись моего нарушения. Протокол подписал по неопытности, но указал, что на видео не просматривается номера ТС совершившего данное нарушение. Водительское удостоверение изъяли, а 20 сентября должен состояться суд в г. Дмитров. Сплошную разметку увидел только когда поравнялся с грузовиком, знаков запрещающих обгон не было.
Проходя невропатолога на справку для вождения, я выполнила несколько упражнений, кроме одного , нога за ногой по прямой линии, руки вытянуты вперед, закрыты глаза , достать нос по очереди пальцами обеих рук. Я не смогла устоять, остальное без проблем. Является ли закоонным отказ в выдаче справки, что означает по словам врача нарушение координации. Я спокойно и прекрасно выполнила аналогичное упражнение ноги вместе.
Есть ли такое упражнение в законе , на который врач ссылается?
Здравствуйте, подскажите пожалуйста, по сложившимся обстоятельствам я был остановлен не имея прав в состоянии алкогольного опьянения, суд наложил административный арест 10 суток. Могут ли после этого возникнуть проблемы с получением прав ?
Здравствуйте! Подскажите пожалуйста,как правильно я должна выполнить маневр:следуя по маршруту на перекрестке должна повернуть на лево,выезжаю с парковки.Я должна выехать на правую полосу, а затем перестроиться на левую или сразу на левую, при условии что на ней машин?Вот уже десять месяцев не могу сдать экзамен по маршруту, в городе. За это время сменилось 8 инструкторов, и каждый учит по-своему, а я сдать не могу.
|
|||||||||||||||||||||
| Страницы: 1 ... 586 587 588 589 590 ... 908 | Всего вопросов: 9076 | ||||||||||||||||||||
Задать свой вопрос |
|||||||||||||||||||||




